相關產品
一、防爆氣象儀產品簡介
防(fang)爆(bao)氣(qi)象(xiang)(xiang)(xiang)儀(yi)(yi)(yi)能(neng)夠(gou)快速采集(ji)風向、風速、溫度、濕度、氣(qi)壓等(deng)環(huan)(huan)境(jing)(jing)參數,防(fang)爆(bao)氣(qi)象(xiang)(xiang)(xiang)儀(yi)(yi)(yi)具有(you)結構緊湊(cou)、無任何移(yi)動部件、安裝方便、免維護的(de)(de)特點(dian),提(ti)供強大的(de)(de)拓展功能(neng),可以(yi)根據要求外接(jie)不同(tong)的(de)(de)傳感器(qi)。山東風途物聯網科技有(you)限公司(si)作為專業(ye)研發生(sheng)產(chan)銷(xiao)售一(yi)體化防(fang)爆(bao)氣(qi)象(xiang)(xiang)(xiang)傳感器(qi)的(de)(de)企(qi)業(ye),一(yi)直致力(li)于微型氣(qi)象(xiang)(xiang)(xiang)儀(yi)(yi)(yi)和氣(qi)象(xiang)(xiang)(xiang)環(huan)(huan)境(jing)(jing)解決方案推廣(guang)應用。具有(you)完整的(de)(de)生(sheng)產(chan)鏈(lian)、實力(li)雄(xiong)厚的(de)(de)技術團(tuan)隊和全面(mian)的(de)(de)營(ying)銷(xiao)團(tuan)隊,我們研發生(sheng)產(chan)的(de)(de)超聲(sheng)波防(fang)爆(bao)風速風向儀(yi)(yi)(yi)、防(fang)爆(bao)五要素微氣(qi)象(xiang)(xiang)(xiang)儀(yi)(yi)(yi)等(deng)氣(qi)象(xiang)(xiang)(xiang)產(chan)品,已廣(guang)泛應用到化工廠(chang)、油庫、隧道、礦井等(deng)領域(yu),客戶(hu)遍布(bu)全國各地,并取得了良(liang)好(hao)的(de)(de)社(she)會(hui)效益和經濟效益。
與傳統的(de)防(fang)爆氣象(xiang)儀相比,我司(si)產品克服(fu)了對高(gao)精度(du)計時器的(de)需求,避免了因傳感(gan)器啟動延時、解調電路延時、溫(wen)度(du)變化而(er)造成(cheng)的(de)測量不準問(wen)題。
FT-WFB5型防爆氣象(xiang)儀創新性(xing)地將風速、風向(xiang)、溫度、濕度、大氣壓力(li)通過一個高集成度結構來實(shi)現(xian),可實(shi)現(xian)戶外氣象(xiang)參(can)數(shu)(shu)24小(xiao)時連續在(zai)線監測(ce),通過數(shu)(shu)字量通訊(xun)接口將五項(xiang)參(can)數(shu)(shu)一次性(xing)輸(shu)出給用(yong)戶。
二、防爆氣象儀產(chan)品特點
1、頂蓋隱藏式超聲波探頭,避(bi)免雨(yu)雪堆積的(de)干擾,避(bi)免自然(ran)風遮擋(實用(yong)新型專利,專利號ZL 2020 2 3215713.X)☆
2、原理為發射連續變頻超聲(sheng)波(bo)信號,通過測量(liang)相(xiang)對相(xiang)位來檢測風速風向(發明專利(li),專利(li)號ZL 2021 1 0237536.5)☆
3、風速、風向、溫度、濕度、大氣壓力五要素一體式(實用新型(xing)專利,專利號ZL 2020 2 3215649.5)☆
4、采用先進的傳感(gan)技術,實時測(ce)量(liang),無啟動風速☆
5、抗干(gan)擾能力強,具(ju)有看門狗電路,自(zi)動復位功(gong)能,保證系統穩(wen)定運行(xing)
6、高集(ji)成度,無移動部件,零(ling)磨損(sun)
7、免維(wei)護,無(wu)需(xu)現場(chang)校準
8、采用(yong)ASA工程(cheng)塑料(liao)室外應用(yong)常年不變色
9、產品設(she)計(ji)輸(shu)出信號標(biao)配(pei)為RS485通訊接口(kou)(MODBUS協議);可選(xuan)配(pei)232、USB、以太網接口(kou),支持數據實時讀(du)取☆
10、可選配無線(xian)傳(chuan)輸模塊,最(zui)小(xiao)傳(chuan)輸間(jian)隔(ge)1分鐘
11、探(tan)頭(tou)為卡扣(kou)式(shi)設計(ji),解決了(le)運輸、安裝過程(cheng)松動不準的問題☆
三、防爆氣象(xiang)儀技術參(can)數(shu)
1、風速:測量(liang)原理(li)超(chao)聲波(bo),0~60m/s(±0.1m/s)分辨率0.01m/s;(發明專利(li),專利(li)號ZL 2021 1 0237536.5)
2、風向:測量原理超聲波(bo),0~360°(±2°);分辨率:1°;(發明專利(li),專利(li)號(hao)ZL 2021 1 0237536.5)
3、空氣(qi)溫度:測量原理二極管結電(dian)壓法,-40-60℃(±0.3℃),分辨率(lv)0.01℃;(北京市氣(qi)象局(ju)校準證(zheng)書)
4、空氣(qi)濕(shi)度:測(ce)量原理電容(rong)式(shi),0-100%RH(±0.3%RH),分(fen)辨率:0.1%RH;(北京市氣(qi)象局校準證書)
5、大氣(qi)壓力(li):測量原理壓阻式,300-1100hpa(±0.25%),分辨率0.1hpa;(北京市氣(qi)象局校(xiao)準證(zheng)書)
6、生產企業具有ISO質量(liang)管理(li)體系(xi)、環境管理(li)體系(xi)和職(zhi)業健康管理(li)體系(xi)認(ren)證☆
7、生產企(qi)業(ye)具(ju)有計算機軟件注冊(ce)證(zheng)書☆
8、生產企業(ye)為3A級信用企業(ye)☆
9、生(sheng)產企(qi)業具有Ex ia IIC T6 Ga高等級防爆證書☆
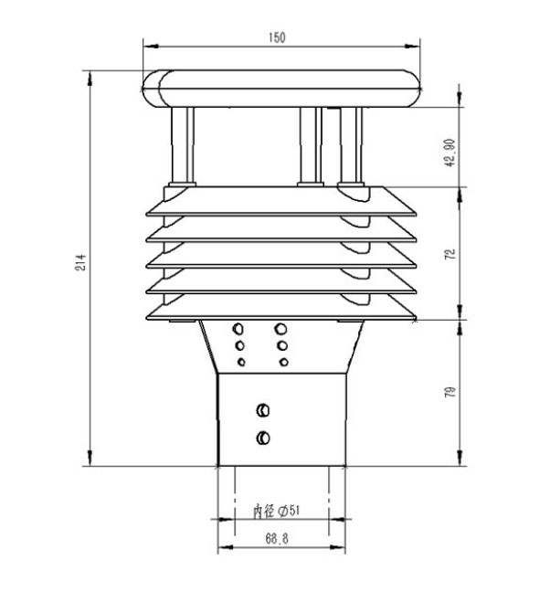
四、防(fang)爆氣(qi)象儀產品尺(chi)寸圖(tu)

五、防爆氣象儀(yi)產品結構圖(tu)

1、控制電路
2、指北箭頭
3、超聲波探頭
4、百葉箱
5、溫度(du)、濕度(du)、氣壓監(jian)測位置
6、底部固定法蘭
※此(ci)產品可選(xuan)配電子羅盤、GPRS(內置)/GPS(二(er)選(xuan)一)
六(liu)、防爆氣(qi)象儀產(chan)品接線定義

VCC:棕(zong)色,GND:黑色,485A:綠色,485B:藍色
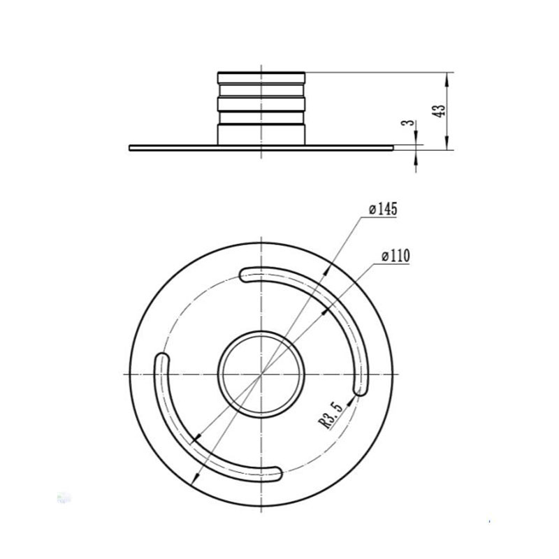
七、防爆氣象儀法(fa)蘭盤(pan)固定方(fang)式

1、微氣象儀
2、固定螺釘
3、通信電纜+航插
法蘭盤尺寸

本文地址://txwjc188.com/1410.html




風途首頁
電話咨詢
產品中心